时间:2023-05-19
发布时间:2023-05-19
在企业发展过程中,为了保护自己的品牌和知识产权,需要不断注册各种商标。然而,如何管理这些商标却是许多企业面临的困难之一。传统的手动管理方式已经无法满足大量、复杂的商标管理需求,导致企业效率低下,并可能造成安全漏洞。
例如,我们熟知的电视剧《武林外传》,版权方北京联盟影业投资有限公司自2006年起申请了多件“武林外传”相关商标。而如今多件“武林外传”相关商标已处于无效状态,原因是未续展。直到2021年,联盟影业再次申请“武林外传”系列相关商标,却因被他人抢注而导致被驳回。这正是因商标管理不到位造成的后果。

康信IP平台(service.kangxin.com)正是针对这些问题提供专门的“品牌管理”服务以方便企业进行更高效精准地进行商标管理。
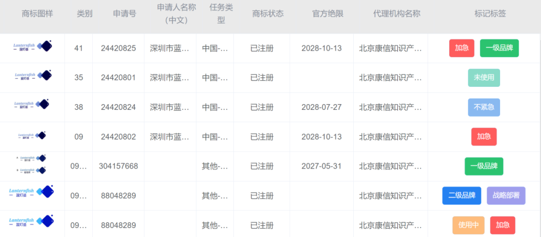
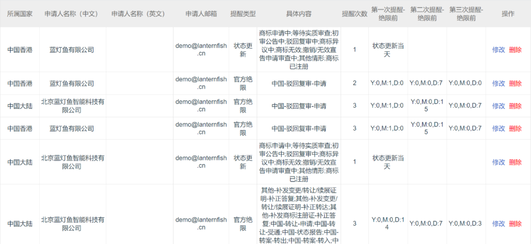
康信IP平台“品牌管理”功能能够提供的服务:
- 案件管理:通过在线管理所有与商标相关事件(例如注册申请、续展申请、变更申请、无效宣告等),从而快速跟踪案件办理进度和查找对应商标信息。

- 文档管理:将海量文本资料统一保存并智能分类成不同目录,实现一键检索。

- 绝限提醒:即时推送通知信息(例如商标申请、商标续展、驳回复审等商标案件的各类官方绝限)以防止错失期限。

- 统计分析:自动统计各类商标数据,并根据其进行可视化处理,形成各项报告以助力企业根据商标情况作出重要战术性决策。



欢迎企业尝试使用康信IP平台完善品牌管理!