时间:2022-03-18
发布时间:2022-03-18
相信很多ipr都经历过商标管理纷繁复杂带来的头疼:
商标数量庞大、数据分散,人工管理总有遗漏风险;
官文查阅不及时,时常担心会错过绝限;
续展、变更、使用证据保留不及时,一旦有纠纷有理说不清……
“工欲善其事,必先利其器”。
康信IP平台——一款能够提供全球知识产权一站式智能解决方案的工具,帮您解决这些难题!
这款工具的“品牌管理”功能包含案件管理、文档管理、绝限提醒以及统计分析四个板块,便于企业进行全球的商标资产管理,对于ipr来说简直是救星一样的存在。
01案件、文件电子化,提高管理效率
康信IP平台“品牌管理”功能将所有案件、文件纳入线上电子化管理。
实现企业全球商标案件、各代理机构案件统一管理。
所有案件及文件皆可通过线上操作来完成。
在我的案件模块,可以点击「新增案件」,填写商标相关信息,保存后案件就添加成功啦!
如果之前已有大量案件(不论是否由康信代理的),康信IP平台都可以帮助初始化批量导入。
其中,由康信代理的案件日后更新也无需手动录入,系统自动实现同步,确保第一时间了解案件最新进展。

后续可以对添加的案件进行线上管理。
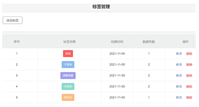
加急、不紧急、战略部署、未使用、使用中等多种标签自定义添加。
可以清晰的了解案件情况,处理更及时。

案件查找,可以通过查询栏一键筛选。
页面导航栏详细展示办案国、商标名称、类别、申请号、申请日等信息。
更有注册号、国际注册号、优先权日、申请人地址、立案日、商品/服务等20余种字段支持自定义添加。
案件信息一目了然。

在我的文档模块,可以批量上传下载商标注册、变转续许、查询/监控等各类业务的文件、证书、报告,以及商标使用、宣传、知名度、被保护纪录和版权、侵权证等各类证据。
“我的文档”管理
「批量上传」可自动识别官方文件,对应的申请号和文档目录识别成功后,可自动归档。
支持多种格式文件——pdf、jpeg、jpg、png、gif、tif、tiff、bmp。
上传后的文件也支持再次修改。
文档分门别类,管理更轻松,查找更便捷,想要使用的时候,随时打开随时下载!

所有文件纳入电子化管理,再也不怕文件丢失了!再也不怕文件分散难查找了!
02时限智能提醒,避免错过绝限
重要事项太多、记不住,担心错过绝限怎么办?
那就需要给自己设置一个绝限提醒啦!
在时限提醒管理板块,点击「添加时限设置」,可以选择“状态更新”和“官方绝限”两种通知类型。

“状态更新”包括商标申请中、等待实质审查、初审公告中、驳回复审中、商标异议中、商标无效、撤销/无效宣告申请审查中。
“官方绝限”可以自助设置提醒频率,时限提醒开启后,系统会按照设置日期自动发送提醒到注册邮箱中。
有了这个功能,即使手头工作堆积如山也不用担心错过绝限了!
03商标数据可视化统计,查看更直观
康信IP平台“品牌管理”功能会自动统计一定时期内的商标申请量、注册商标存量、商品服务类别,可以借助各类可视化图表,更加直观的看数据!
在统计分析板块,可以通过筛选框自助查询一定时间内的商标申请量、初审公告量、注册量,详细掌握商标申请趋势。

商标申请统计
注册商标存量、商品服务类别也有详细统计!
图表多维度、可视化展示,随时复盘企业商标布局状态,实时掌握商标动态,实现商标数据化、精细化管理。

注册商标存量统计

商品服务类别统计
商标数据一键筛选,展示分析一步到位!
此外,您也可以进入商标信息库中的商标布局策略板块,查看商标地图,该板块以可视化地的方式展示企业在43个国家/地区的商标注册布局情况以及申请的商品服务类别所占比重情况。

办案国_类别分布
商标全球布局情况一览无余,海外市场发展游刃有余!
在康信IP平台,企业也可以进行商标查询、注册、监控、续展、变更、补发证明以及品牌保护、版权服务等操作,可以进入康信IP平台,探索更多实用功能!